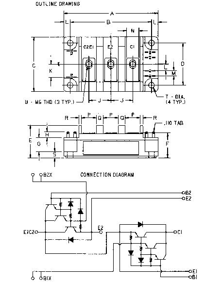
Product Summary
The KD421K10 is a Dual Darlington Transistor. Applications include AC motor control, DC motor control, switching power suppliers and inverters.
Parametrics
KD421K10 absolute maximum ratings: (1)junction temperature: -40~150; (2)storage temperature: -40~125; (3)collector-emitter sustaininf voltage: 1000V; (4)collector-base voltage: 1000V; (5)emitter-base voltage: 7V; (6)continuous base current: 5A; (7)power dissipation: 800W.
Features
KD421K10 features: (1)isolated mounting; (2)planar chips; (3)discrete fast recovery feedback diode; (4)high gain; (5)quick connect base-emitter signal terminals; (6)base-emitter speed-up diode.
Diagrams

(China (Mainland))






